

(2)落地門型支架需煨彎,門字型吊架可煨彎或焊接連接


說明:支架的槽鋼或角鋼規格根據荷載計算確定,支架形式也會根據承重有所變化

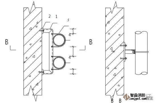
1.角鋼 2.連接板(8mm) 3.管碼 4.管道

1.角鋼 2.連接板(10mm,做為承重支架,當使用80以上的角鋼時采用) 3.管碼 4.管道

1.角鋼 2.連接板(6mm) 3.管碼 4.管道

1.支架橫擔 2.鍍鋅螺桿 3.管碼 4.管道 5.頂爆螺栓 6.緊固螺栓

管道安裝前支架上下采用鐵絲作垂直吊線,保證立管垂直度

在施工前須在砼結構下彈控制線,保證支架在一直線上

水平安裝

管道平行敷設,安裝牢固,間距合理,標識清晰,穿板封堵美觀

排水立管檢查口中心高度距操作地面為1m,朝向應便于檢修,鑄鐵排水立管檢查口之間的距離不宜大于10m,塑料排水立管每六層設置一個檢查口

用于室內排水的水平管道與水平管道、水平管道與立管的連接,應采用45°三通或45°四通和90°斜三通或90°斜四通,封堵止水環

裝表前應排凈管內雜物,以防堵塞,水表應水平安裝,箭頭方向與水流方向一致。
智淼君安(江蘇)消防工程技術有限公司http://www.luvata-china.com/
海灣消防安全有限公司主營:GST海灣消防報警設備銷售,消防工程施工改造,氣體滅火、電氣/漏電火災、消防水系統施工安裝,售后維修保養,檢測,調試,海灣消防網站:http://www.luvata-china.com/;海灣消防服務熱線:4006-598-119